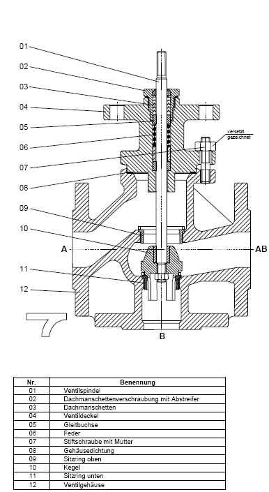
Teileliste
Regelventil in 3-Wege-Form, BR 31
6a31-t
Seite 1 von 1
Home
Index
1
2
3
4
5
6
7
8
9
0
Druckversion öffnen
JavaScript is currently disabled.
Please enable it for a better experience of
Jumi
.