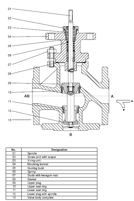
Parts list
Control valve in three way form, for diverting function, type 32
6a32-t E
Page 1 of 1
Home
Index
1
2
3
4
5
6
7
8
9
0
open printversion
JavaScript is currently disabled.
Please enable it for a better experience of
Jumi
.