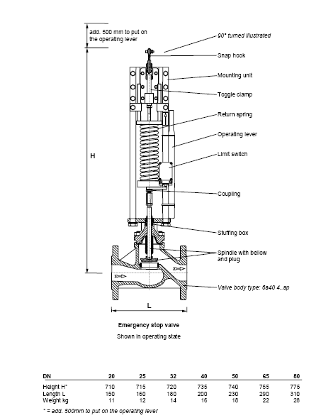
Emergency stop valve
with bellow sealing, DN20-80
EN-GJS-400-18-LT, PN 16
640 4..sav E
Page 2 of 2
Home
Index
1
2
3
4
5
6
7
8
9
0
open printversion
JavaScript is currently disabled.
Please enable it for a better experience of
Jumi
.