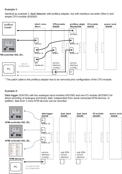
Wiring examples modular hardware
8_99 E
Page 2 of 3
Home
Index
1
2
3
4
5
6
7
8
9
0
open printversion
JavaScript is currently disabled.
Please enable it for a better experience of
Jumi
.