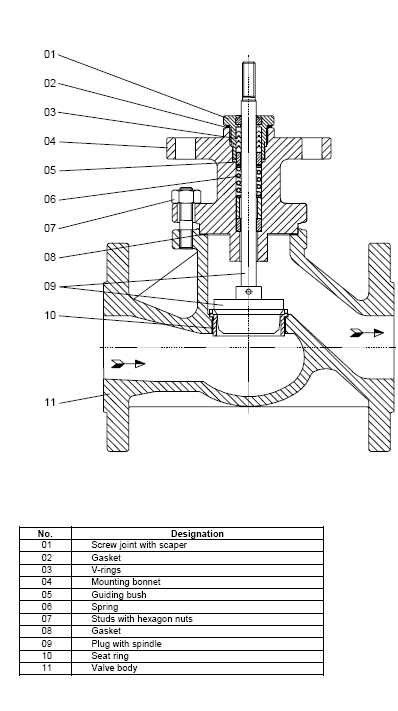
Parts list
Control valve in two way form, type 21
6a21-t E
Page 1 of 1
Home
Index
1
2
3
4
5
6
7
8
9
0
open printversion
JavaScript is currently disabled.
Please enable it for a better experience of
Jumi
.